迅雷论坛

我就想知道,改密码到底还管用不,账号管不了,那麻烦申请退款

回复
用户头像 楼主
Reki

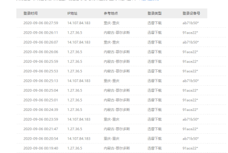
自己的账号自己登不了,一直被顶,登陆不到10秒就会被顶,查了最近7天的就没几个是自己本地IP,密码改的自己都记不住还是没得用,既然免费的那么香,你们干嘛还要卖VIP???

只看楼主 楼主
全部发言
按楼层排序
用户头像

您好,关于您反馈的问题,根据您的帐号查询您自己登录是用的账号密码登录,其他所有三方登录都是另外一个IP,盗用者使用三方登录进行登录,您解绑三方帐号后就没有被盗用的情况。

只看此人 1楼
0 回复
用户头像
用户

我的也是,真的烦死, 改完密码没几分钟就被顶了

只看此人 2楼
0 回复
用户头像

引用用户的发言:

我的也是,真的烦死, 改完密码没几分钟就被顶了

展开全部

n您好,关于您反馈的问题,根据您的帐号查询,您的异地登录都是第三方帐号授权登录引起,我们怀疑您是帐号密码泄露后被绑定了三方帐号然后进行登录引起,建议您去把第三方帐号全部解除后再进行修改登录密码。

只看此人 3楼
0 回复
头像
在这里开始你的发言
圈子 迅雷X 精彩,一下就有!

全站热门讨论

相关讨论

相关版块

推荐版块
电影社区
推荐版块
迅雷新品发布
推荐版块
迅雷新闻
推荐版块
Mac迅雷影音
推荐版块
我爱下载
0a15016717797322623308214d1e88