迅雷,你能不能告诉我下你在上传什么?
RT,我为了证明没后台没迅雷任务,我清掉所有任务,重启电脑,再开电脑,不到1分钟

迅雷你这样就不友好了
现在家里宽带都是200M了,下载应该很快,你给我们限速,你就是流氓,一收费就打开
更新到迅雷11.3后无法下载任何文件
我加了迅雷11官方群,一直没人审核,现在也不知道该找谁解决问题,我的QQ:939
迅雷更新至11.0.3后,桌面右下角出现空白窗口!!!
迅雷更新至11.0.3后,每次打开迅雷后电脑桌面右下角就有一块空白的广告窗口,关

迅雷超会无法抱团下载,怎么摁都没用
摁了以后就是这个状态,重装啥的都试过了


正在下载文件退出后全不见了
每次退出之后再进入软件,上次留存没有下载完的文件都不见了
昵称莫名被修改
昵称莫名被修改为什么QQ号 还无法改回去 提示:安全提示拒绝访问【202】 尼
什么时候能把快鸟删了啊
不删除降网速降的没法用啊
这样的迅雷你会喜欢吗?
根据迅雷11个人制作这样的迅雷你会喜欢吗?

迅雷下载的任务自动消失
退出重开后 迅雷下载的任务自动消失 没下载完的 下载完的都消失了


建议迅雷利用用户硬盘空闲容量为冷门资源提供数据源
建议迅雷利用用户硬盘空闲容量为冷门资源提供数据源,防止操作系统识别成文件,以防占
以前的监视白名单或者黑名单哪去了?
网页游戏会被迅雷劫持弹出zip文件下载导致页游无限Loading进不去,以前这种
会员感觉白开了!
一直在加速准备中,我开会员就是为了下这一部电视剧

为什么这次迅雷更新了放在任务栏会莫名其妙的关闭
为什么这次迅雷更新了放在任务栏会莫名其妙的关闭为什么这次迅雷更新了放在任务栏会莫
迅雷X打开崩溃
打开崩溃,卸载重装也一样,怎么回事

更新迅雷之后,迅雷看看播放组件很卡
好像5月份开始更新的迅雷X,包括最近测试的迅雷11,迅雷看看播放组件都很卡,感觉
自从升级到了720版之后,一开迅雷开始下载就断网,什么意思啊
win10,64位,多少年了从来没遇到过这么荒谬的事情,那天提示我升级到版本号7
迅雷X下载的问题
这二天一打开迅雷,哪怕是没有进行任何下载,网络就卡死了,网页都打不开。但退出迅雷
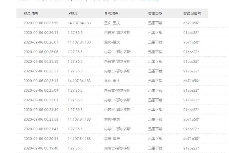
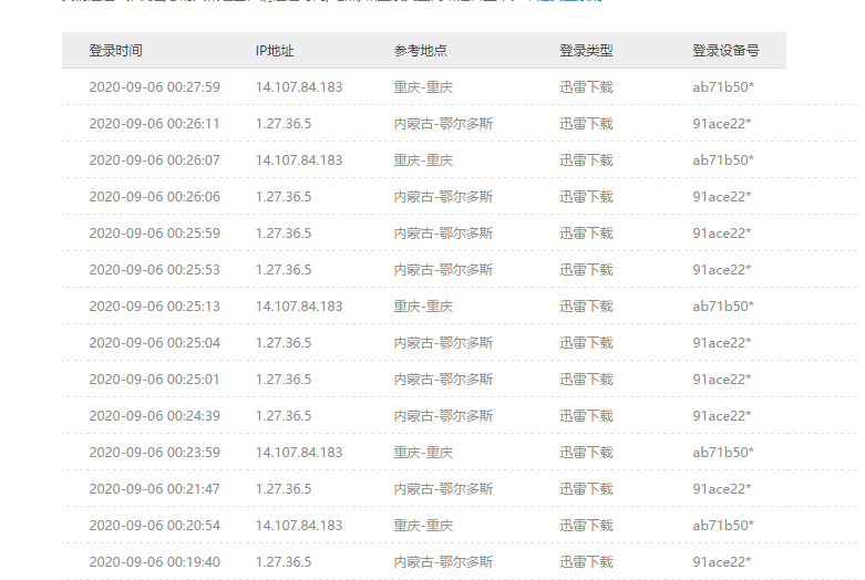
我就想知道,改密码到底还管用不,账号管不了,那麻烦申请退款
自己的账号自己登不了,一直被顶,登陆不到10秒就会被顶,查了最近7天的就没几个是

迅雷10.1.38.888,版本号不错!
迅雷10.1.38.888,版本号不错!http://down.sandai.n